Tight oil prompts new plan for atmospheric distillation heater
Patricia Marques
Petroleo Brasileiro SA
Rio de Janeiro
Fernando Feitosa de Oliveria
Pasadena Refining System Inc.
Pasadena, Tex.
Distillation unit atmospheric heaters serve a vital role in crude oil processing. Any issues directly related to reduced capacity of a heater, such as elevated tube-skin temperatures (TSTs) and coking rates, require immediate attention.
Implementation of a mitigation plan can reduce the frequency of unplanned maintenance outages as well as shorten the duration of reduced distillate production, both of which adversely affect a refinery's net operating margin.
Pasadena Refining System Inc. (PRSI), a subsidiary of Petroleo Brasileiro SA (Petrobras), implemented in 2013 an action plan to optimize performance of the crude distillation heater at its 100,000-b/d refinery in Pasadena, Tex. The improvements, which focused on combating a series of processing issues the refinery encountered after introducing tight oil to its feedstock in early 2012, have helped minimize premature shutdowns of the distillation heater, increase distillation unit operating factor, and improve the refinery's overall profitability.
While the first tight oil assay data warned of higher rates of vaporization involved in processing light, unconventional oils, the refinery soon encountered complications related to filterable solids, amines, waxes, and crude compatibility.
As increased amounts of tight oil were blended into the crude slate normally processed at the refinery, PRSI observed an accelerated rate of rising TSTs in the distillation unit's atmospheric heater. This required the refinery to reduce feed charge rates as well as the heater's outlet temperature in order to maintain TSTs below the maximum levels dictated by the heater's design.
This article discusses the causes contributing to high tube-skin temperatures, the tools used to evaluate heater performance, and the actions taken to minimize fouling rates.
Background
Before processing tight oil at the Pasadena refinery, PRSI routinely monitored heater TSTs using thermography scanning, the raw data of which were communicated through individual reports that typically did not entail trend analysis.
As part of its action plan, however, PRSI normalized thermography data to verify the correlation between increasing TSTs and the content of tight oil present in the feed charge, separating other effects such as feed-flow rate (FF), heater inlet temperature (Tin), and heater outlet temperature (Tout; Equation 1, see accompanying box).
Fig. 1 shows that TSTs continued to increase alongside the addition of increased amounts of tight oil to the refinery's standard crude feedstock.
Following the start of tight oil processing in the atmospheric heater, average TSTs of roof tubes in the heater's radiant section began to rise at a rate of 1.5° F./day. By August 2012, still well ahead of the heater's next regularly scheduled turnaround, TSTs were reaching the maximum temperature limits for a unit of its design. As a result, PRSI took the heater offline for its first unscheduled decoking.
The unit experienced a second unplanned maintenance outage for decoking again in December 2012 after TSTs suddenly began to escalate at an average rate of 2.5° F./day, which was higher than any previously observed rate increases.
PRSI first investigated these events using a heater simulation model and later by analyzing tight oil characteristics that potentially could be contributors to rising TSTs.
Calculating heater performance
The model and simulation of distillation unit heaters can be accomplished with commercial software such as FRNC-5 or Petro-Sim. Simulation results can be compared to reference parameters to predict coking tendencies and identify changes required in the heater process variables or design.
PRSI developed a fired heater rigorous computer model using FRNC-5 software based on the refinery's atmospheric heater design data (configuration, tube specification, and size), stream properties (feed and fuel-gas composition), and process variables (flow rates, temperatures, and pressures).
The radiant calculation model used the Lobo & Evans methodology for heat flux distribution.1 The simulated heater was a double firebox heater, single-fired, with eight passes.
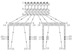
Fig. 2 shows the configuration of tubes at the Pasadena refinery's atmospheric heater.
Results of the simulation provided information on the condition of individual heater tubes. PRSI was able to analyze these data to predict the potential occurrence of coking within the unit.
Tube-skin temperatures
To investigate the rising TSTs in the atmospheric heater's radiant roof tubes, PRSI conducted a simulation of clean and fouled tubes to collect data that could then be compared with field data from actual operations at the refinery.
Based on tube metallurgy, the maximum allowable TST for the atmospheric heater's radiant tubes was established to be 1,100° F. By the time the simulation was developed, thermography results showed the average TST for the refinery's radiant tubes was 950° F. Simulation results for clean radiant roof tubes, however, showed TSTs for clean tubes to be nearly 250° F. lower than actual operating temperatures in the Pasadena refinery's radiant tubes. Fig. 3 illustrates this difference for one of the refinery's radiant roof tubes.
After analysis, PRSI determined the temperature differences between simulated and field data were attributable to some type of fouling (ΔTfouling) in the refinery's radiant roof tubes, as fouling increases heat-transfer resistance and requires a higher TST for the same heat flux (Equation 2).
The low temperature of clean tubes indicated that the heat required for the vaporization of the light portion of tight oil was not the main contributor to the high TST.
Bulk vs. film temperatures
The temperature difference between the bulk phase and film is normally 30-80° F.2 The higher this difference, the higher the possibility for coking.
In this case study, the maximum temperature difference PRSI observed was 72° F. This difference occurred in the roof tubes (tube Nos. 9-14), indicating that the roof was the region most vulnerable to coking (Fig.4).
Flow regime
The calculated flow regime in the radiant section was predominantly annular. Depending on the velocities of liquid and vapor inside the heater tubes, the flow regime could reach the undesirable condition of slug flow, which favors coking by the intermittent liquid coming into contact with the excessive heat of the tube wall (Fig. 5).
In critical cases, changes in either the feed flow rate or the velocity steam rate are both possible tools for minimizing the occurrence of undesired flow regimes.
Heat flux
Excessive heat flux, which occurs when radiant heat absorption rates become too high in the area of the tube, can cause high oil-film temperatures as well as high coke-formation rates. The designed average heat flux for the Pasadena refinery's heater is 12,000 btu/hr-sq ft. While the calculated average values were below the heater's designed average heat flux, rate peaks in the roof tubes were well above this value.
The peak heat flux value is recommended to be 1.8 times below a heater's designed average heat flux value.2 In this case study, the radiant roof tubes had areas of peak heat flux as much as 4.4 times above the heater's designed average heat flux value. PRSI determined this to be primarily caused by the roof tube's double-row design configuration.
Reducing critical heat flux issues in the tube while maintaining the same feed rate typically requires design changes to the tube. These design changes can include increasing the tube's diameter or optimizing the heat absorbed by feedstock in the convection section.
Fouling possibilities
In general, PRSI's interpretation of simulation results led to two discoveries:
1. Fouling was to blame for the high TSTs.
2. The roof tubes were susceptible to film coking because of high film temperatures and high peak heat flux.
The next step was to investigate fouling precursors.
Inorganic fouling
Filterable solids, which can be measured with ASTM D-473 or D-4807, are inorganic particles with less than 20 μm, such as SiO2, sand, clay, CaCO3, CaSO4, BaSO4, FeS, CuS, Fe3O4, and Fe2O3. Tight oil delivered to the Pasadena refinery has an average filterable-solids content of 150 lb/1,000 bbl, which could rise to about 300 lb/1,000 bbl in the future.
Due to their small particle size, most filterable solids are suspended in the desalter's oil-water interface, making them difficult for the desalter to remove. This leaves a high percentage of these solids to be carried with the crude to processing units downstream of the desalter.
Depending on flow velocities and temperatures, these solids can settle in preheat exchangers and heater tubes, increasing heat-transfer resistance as well as heater TSTs.
Together with the heavy waxes often present in tight oil, filterable solids also can contribute to water oil emulsion, which decreases the efficiencies of desalting and preheating processes. Both of these efficiency decreases negatively impact atmospheric and vacuum heater operations.
In order to optimize the removal of filterable solids, PRSI implemented an acidification program to reduce the pH of the desalter's wash water because wash water with a high pH can exacerbate formation of stable emulsions during the desalting process.3 The acidification program used at the Pasadena refinery lowered the wash water's pH and reduced this emulsification tendency. The rate of removal of filterable solids by desalting at the refinery currently has been higher than 80%.
PRSI also observed the elevated presence of larger particle-sized solids (20-200 μm) in the tight oil feedstock processed at the refinery (Fig. 6). The primary sources of these solids typically include sand and corrosion byproducts.
To combat this, PRSI injected wetting agents as well as demulsifiers into the desalter feed to reduce the presence of basic solids in the desalted crude.
Routine cleaning of preheat exchangers is recommended to combat fouling from remaining inorganic solids and waxes. If available, velocity steam could be injected into the heater tubes to minimize the deposition of solids. The ideal steam rate could be defined with a heater simulation based on velocity limits and flow regimes.
Organic fouling
The paraffinic characteristics of tight oil require refiners to pay attention to that particular tight oil's compatibility with other asphaltenic crudes into which it may be blended. Compatibility is directly related to the balance among paraffins (saturated), aromatics, resins, and asphaltenes. Asphaltenes are dispersed by resins and solvated by aromatic hydrocarbons, which contribute to the polarity and stability of the crude oil (Fig. 7).4
The Pasadena refinery's need for a second heater decoking while processing tight oil was related to the high-asphaltene content of the normal crude feedstock into which the tight oil was blended. Analyses indicated this particular crude blend showed signs of asphaltene precipitation in the cold-preheat train, hot-preheat train, desalter, and heater tubes, causing the atmospheric heater to experience times when TSTs increased to 50° F. in one day.
While tight oils have both low-asphaltene contents (polar molecule) and low aromaticity, their paraffinicity is high enough to reduce the polarity of the crude mix into which they are blended. This reduced polarity causes the asphaltenes from other crudes to agglomerate as well as precipitate (Fig. 8).
Compatibility between crudes can be estimated through calculated parameters based on crude assays. There are several methodologies found in literature for calculating crude stability, most of which are based on asphaltene-resin and saturates-aromatics ratios.5
Petrobras, however, has developed its own correlation for determining crude compatibility.6 The compatibility index (IFST) uses a crude's gravity and viscosity to determine its compatibility with other crude oils (Equations 3 and 4).
A compatibility lab test that uses a commercial optical spectrophotometer or similar equipment can confirm the calculated crude-blend stability.
Turbiscan is one commercial option for this test. After measuring the backscattering and transmission of light through the crude sample, program software calculates the kinetics and separability of the sample to determine crude compatibilities as well as stabilities of asphaltenes. PRSI employed the services of external companies to run Turbiscan analyses for the present case study.
Further to address organic fouling issues at the Pasadena refinery, PRSI also developed a plan to optimize the operation of the atmospheric distillation heater's burners.
Since impingement of a burner's flame accelerates the potential for organic fouling to occur, PRSI implemented a systematic verification of burner operations the refinery. The burner performance program includes routine burner cleanings as well as excess-air adjustments to burner equipment. Both measures help to ensure a healthy flame pattern and minimize coking in the unit.
Decoking
After PRSI's work to mitigate all of these contributors to fouling, the rate of increase for TSTs in the Pasadena refinery's atmospheric heater has been reduced to less than 1° F./day. Since troubleshooting the fouling issue, PRSI has operated the refinery's crude heater for more than 1 year without any outages required for decoking.
When routine maintenance for decoking occurs, PRSI uses a steam-air decoking process. The selection of the decoking process is based on PRSI's findings that part of the inorganic solids are removed by the steam and high temperatures used in the process, as well as PRSI's previous experience using the spalling step, which resulted in only minimal hard-coke removal from the heater.
Current mitigation plan
As a result of its investigation into the causes of atmospheric heater fouling that occurred at the Pasadena refinery following the start of tight-oil processing, PRSI has established a series of tools and procedures to be used during operation of the unit. Designed both to minimize and to track the potential for future fouling of the unit, PRSI's mitigation program includes:
• Tracking and trend analysis of heater TSTs.
• Heater performance simulation and fouling calculation.
• Desalting optimization program.
• Crude compatibility management, including calculated parameters and lab testing.
• Preheat exchanging cleaning program.
• Burner performance verification.
References
1. Lobo, W.E., and Evans, J.E., "Heat Transfer in the Radiant Section of Petroleum Heaters," American Institute of Chemical Engineers Journal, Vol. 35, 1939, pp. 743-778.
2. Martin, G. R., "Heat-Flux Imbalances in Fired Heaters Cause Operating Problems," Hydrocarbon Processing, May 1998, pp. 103-09.
3. NPRA Q&A, "Optimizing Desalter Operations Can Help Refiners Cope With Heavy Crudes," OGJ, Oct. 27, 1997, p. 71.
4. Wiehe, I.A., and Kennedy, R.J., "The Oil Compatibility Model and Crude Oil Incompatibility," Energy and Fuels, Vol. 14, No. 1, January 2000, pp. 56-59.
5. Evdokimov, I.N., "Bifurcated Correlations of the Properties of Crude Oils With Their Asphaltene Content," Fuel, Vol. 84, No. 1, Jan. 31, 2005, pp. 13-28,
6. Farah, M.A., "Petróleo e seus Derivados," First Ed., Rio de Janeiro: LTC, 2012.
The authors
Patricia Marques([email protected]) is an international process engineer at Petroleo Brasileiro SA (Petrobras), Rio de Janeiro, and serves as technical support for subsidiary Pasadena Refining System Inc.'s refinery in Pasadena, Tex. She has 10 years of experience in refining, which includes operations and capital projects in crude and vacuum distillation, delayed coking, and fluid catalytic cracking. Marques holds a BS in chemical engineering from UNICAMP (Campinas State University - Brazil) and specialization in refining process engineering from Petrobras University.
Fernando Oliveira([email protected]) is refining manager for Petrobras America Inc. and serves as president director of Pasadena Refining System Inc., in Pasadena, Tex. He has 26 years of experience in the refining industry, including several managerial positions in operational excellence, refinery optimization, production planning, fuels and lubricant unit operations, utilities, and operations and maintenance. Oliveira holds a BS in mechanical engineering from UFPE (Universidade Federal de Pernambuco, Brazil) and specialization in refining process engineering from Petrobras University.










